A-A-1012
March 17, 1983
COMMERCIAL ITEM DESCRIPTION
CASTER, SWIVEL (INDUSTRIAL DUTY)
The General Services Administration has authorized the use of this
Commercial Item Description in preference to type II, group B, style 4A of
Federal Specification FF-C-88
This description covers industrial quality swivel casters suitable for intermitten operation on non-powered material transport equipment.
Salient characteristics:
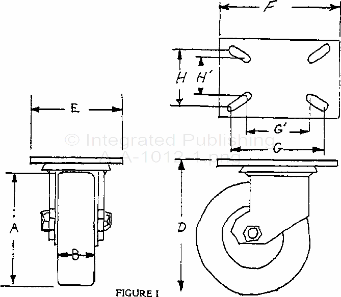
Casters furnished under this commercial item description shall have flat mounting plates and ball-bearing swivels. They shall be of the size and height specified and shall conform to the dimensions and load rating defined.
Size A- 2-1/2 inches diameter wheel
Size B- 3-1/2 inches diameter wheel

TABLE I
|
Size |
Load |
B (min) |
D + 3/32 |
E + 1/8 |
F + 1/8 |
G + 1/32 |
H + 1/32 |
|
A |
200 |
1-1/8 1-1/8 |
3-5/16 3-3/4 |
2-1/2 3-1/2 |
3-5/8 3-5/8 |
2-1/8 2-1/8 |
1-3/4 1-3/4 |
|
B |
250 |
1-1/4 |
4-5/8 4-19/32 4-3/4 4-1/2 |
3-3/4 2-1/2 2-1/2 2-1/2 |
4-1/2 5 4-1/2 3-5/8 |
3 to 3-7/16* 4 2-7/8 to 3* 2-7/8 |
2-3/8 to 3* 1-3/16 1-3/4 to 2-3/8* 1-34 |
|
*Slotted |
|
|
|
|
|
|
|
For Parts Inquires call Parts Hangar, Inc (727) 493-0744
© Copyright 2015 Integrated Publishing, Inc.
A Service Disabled Veteran Owned Small Business